据日本iPhone Mania网站11月15日报道,苹果公司正在开发防水技术,该技术试图利用电荷或声响将水从手机麦克风或扬声器孔排出,以防止手机不慎落水而损害。
电荷排水法
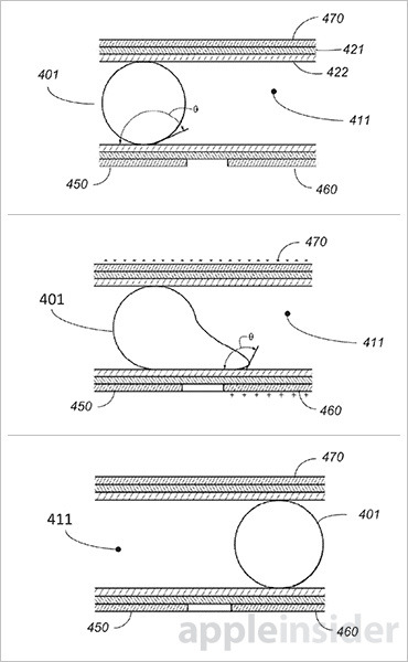
据悉,美国专利商标厅公布内容中详细描述了苹果的接孔液体排出技术这一划时代的iPhone排水法。
据了解,该技术通过电荷使得导电元件获得防水性,从而实现将水从扬声器或麦克风孔排水的功能。而在声响模块内侧中泽设置一个探测器来探测湿度,若探测到有水进入时,则利用该带电荷的导电元件进行引流并排出。
苹果耐水 防水性能或提升
与此前的专利一样,苹果虽不会立即将该液体排出技术运用在产品上,但无疑会进一步提高iPhone等产品的防水性能。
以iPhone 6s为例,该款手机显示器周边使用了防水密封垫圈(一种用于加固防水防气性的密封材料),不仅如此,手机电缆也用硅进行密封。此外,尽管苹果watch无法防水,但却是采用了IPX等级的耐水材质制成。(实习编译:刘青 审稿:王欢)
















