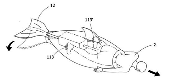
6、人力水中推进器(第M506775号)
不会游泳的人有福了,这个发明可以让你在水中高速移动。
动作原理其实很像骑脚踏车,套在这个设备里面,可以不受水中阻力的影响,更为省力。

难道这就是传说中的美人鱼!
7、具保温控温的手机(第M513518号)
在寒冬中许多人都有使用暖暖包的习惯,不过暖暖包不能重复使用,会造成资源的浪费。利用人手一支的智能手机来做为发热的保暖工具,似乎是个不错的想法。

其实看到这个发明,笔者认为自己错怪HTC了!笔者的HTC手机之所以会如此烫,一定是采用了这个技术,真是贴心的良心企业。
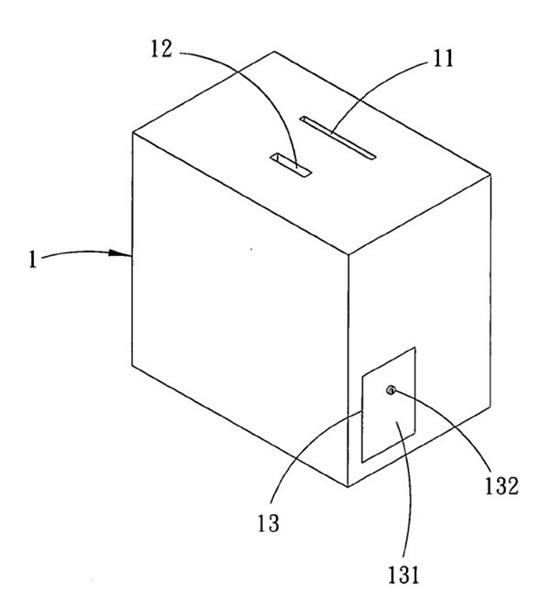
8、具有存钱构造的打卡钟(第M501615号)
员工迟到要打卡的话,嘿嘿,先投钱再说!
这个具有存钱构造的打卡钟,若遇有员工超过上班时间打卡时,必须先将罚金投入至投币孔中,待感应单元感应判断罚金的金额正确后,控制单元即驱动吸卡机构,使员工可继续补打卡片,故能有效地管理员工上、下班出缺勤的时间。

看你还敢不敢迟到!(不知道这样有没有违反劳基法?)
9、麦克风式的蒸汽吸入器(第M511333号)
对于有呼吸道疾病的小朋友来说,多半需要以喷雾治疗,但是那个药好臭,又要戴上吸药器的面罩,许多的小朋友都会很抗拒。
将蒸汽吸入器做成麦克风造型,并在内部装设有一音乐播放设备与一含药蒸气产生部,如此一来,当音乐播放设备开始播放音乐,且病童跟着所播放的音乐一起唱歌时,便能透过病童唱歌时嘴巴一张一阖及换气的动作,将含药成分之蒸气吸入体内,达到提高病童治疗意愿的效果。

老实说,笔者觉得这个挺实用的!
10、防狼壶结构(第M498863号)
前面有提到一个防狼喷雾鞋,如果你刚好没穿那双鞋出门,没关系!这里还有一招:具防身效果的防狼壶。
天下武功,为快不破,平常是个水壶的它,遭遇危险的时候,反手拿起这个水壶猛力一棒给他挥过去。

据说瓶身材质为强化玻璃,保证色狼痛到哀哀叫!
你觉得哪个最有趣呢?2015年大家申请的专利其实不少,以上这10件有趣的专利仅是少部份,如果你也发掘了其他有趣的专利,不妨跟大家分享分享吧。













